苹果公司公布类广场相机专利 先拍照后对焦
作者:网络转载 发布时间:[ 2014/6/6 9:29:00 ] 推荐标签:苹果 智能手机 相机
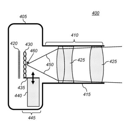
据AppleInsider消息,苹果公司近日公布一项拍照专利,同Lytro相机(光场相机)“先拍照后对焦”的技术很类似。苹果公司给这项技术取得名字同Lytro不太一样,前者是叫Light Field(光场),苹果公司的则是plenoptic tech(全光技术),实质还是大同小异的。光场相机确实给传统摄影带来了不小的颠覆性的理念,无论是手机还是相机厂家都纷纷加入到光场相机开发和应用的市场中来也说明了光场相机也将会给摄影带来更大的影响,但光场相机将会走多远怎么走呢?让我们一起拭目以待吧。

苹果公司全光技术专利图
本文内容不用于商业目的,如涉及知识产权问题,请权利人联系SPASVO小编(021-61079698-8054),我们将立即处理,马上删除。
相关推荐
苹果斥资9亿美元在丹麦建数据中心,计划2019年启用苹果捉虫项目遭遇尴尬 赏金太低参与者将漏洞转卖灰市苹果系统很安全?MacOS渐成恶意软件攻击目标被苹果抛弃的芯片商Imagination重新盈利,双方纠纷仍无进展苹果App Store半年获利超300亿苹果收购德国眼球追踪公司入职特斯拉仅六个月,原苹果软件专家Chris Lattner再次宣布离职苹果指控高通芯片授权协议无效苹果下架国内近3万热更新App汇顶科技:我们的活体指纹技术比苹果安全苹果正式规定用户打赏要抽成30% 微信已取消打赏功能苹果专利侵权案败诉将支付巨额赔偿亚马逊回应苹果HomePod:和我家的Echo是两回事Apple Music崛起 每年为苹果创收32亿美元苹果涉足AR,上线ARkit平台人工智能芯片军备竞赛:苹果谷歌各自研发,软银孙正义增持英伟达

sales@spasvo.com