苹果新专利:手机自我检测是否被摔
作者:网络转载 发布时间:[ 2015/1/28 9:33:29 ] 推荐标签:苹果 专利 自我检测

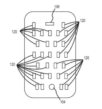
苹果获得了被称为“嵌入数据获取”的新专利,这份专利描述了一种将大量传感器嵌入玻璃中的技术。这些传感器可以检测和记录玻璃曾经承受的力。这种方法要比目前使用的传感器与玻璃连接技术更好,因为传感器可能会在玻璃与坚硬的表面撞击后脱离。

苹果想要使用这种新方法进行生产和产品开发,获得跌落和撞击测试结果。嵌入在玻璃内的压电式传感器可以记录在设备内存中,并允许工程师访问,了解玻璃碎裂的原因。除了设计更坚韧的玻璃,苹果还提到了第二种使用该技术的方法。
专利中提到,数据可以用来评估用户如何对待设备。如果用户携带出现问题的设备前去天才吧维修,传感器获得的数据可以用来发现设备究竟是否被摔过。苹果将可以通过数据确认设备是否应该享受保修。
本文内容不用于商业目的,如涉及知识产权问题,请权利人联系SPASVO小编(021-61079698-8054),我们将立即处理,马上删除。
相关推荐
苹果斥资9亿美元在丹麦建数据中心,计划2019年启用苹果捉虫项目遭遇尴尬 赏金太低参与者将漏洞转卖灰市苹果系统很安全?MacOS渐成恶意软件攻击目标被苹果抛弃的芯片商Imagination重新盈利,双方纠纷仍无进展苹果App Store半年获利超300亿苹果收购德国眼球追踪公司入职特斯拉仅六个月,原苹果软件专家Chris Lattner再次宣布离职苹果指控高通芯片授权协议无效苹果下架国内近3万热更新App汇顶科技:我们的活体指纹技术比苹果安全苹果正式规定用户打赏要抽成30% 微信已取消打赏功能苹果专利侵权案败诉将支付巨额赔偿亚马逊回应苹果HomePod:和我家的Echo是两回事Apple Music崛起 每年为苹果创收32亿美元苹果涉足AR,上线ARkit平台人工智能芯片军备竞赛:苹果谷歌各自研发,软银孙正义增持英伟达

sales@spasvo.com