我们应当怎样做需求分析:行动图和状态图
作者:网络转载 发布时间:[ 2015/5/28 14:59:52 ] 推荐标签:需求管理

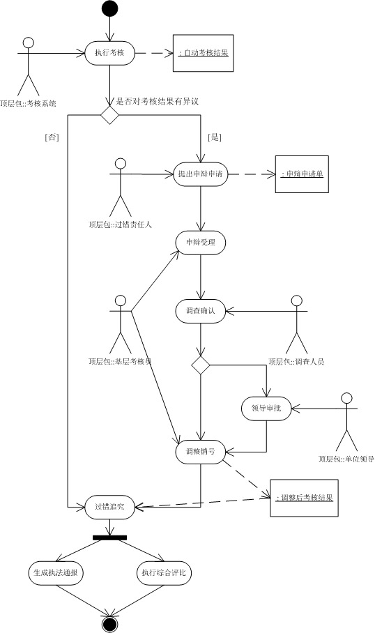
这张图才是我爱使用的行动图。图中,将参与者由繁琐的泳道改为了用例图中的小人。同时,在这张图中还增加了对象流与对象。图中,自动考核结果、申辩申请单、调整后考核结果,都是数据对象,是该流程中相关环节操作的结果。从活动节点指向对象的虚线箭头,则表示了一个对象流,如“申辩申请”活动指向“申辩申请单”的虚线箭头,表示了申辩申请活动的终结果是产生申辩申请单;从“调整后考核结果”指向“过错追究”的虚线箭头,表示过错追究活动读取了调整后考核结果。
当然,活动图还有其它的元素,但我个人认为其实并不实用,使用以上元素足以表述我们的业务流程了。活动图打破了子系统与子系统的壁垒、用例与用例的壁垒,使我们能够从整体上了解整个系统的流程,因此常常使用在对整个系统的概述、对整个子系统的概述,以及对整个功能模块的概述中。同时,与其它视图一样,活动图也应当有它的文字说明,以便对图中的每个活动节点、分支进行描述。但对于一些流程相对简单,甚至没有什么流程的查询报表类功能模块,绘制它们的活动图则显得有些牵强附会,因此我们要灵活掌握。
除了活动图,我们似乎对需求的描述还缺少点儿什么,那是对关键对象中流程中状态变化的描述,在这种情况下,我们的状态图上场了。
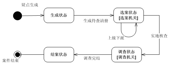
在使用状态图时,一个非常关键的概念是,一定是对某个关键对象的状态变化的描述,而这些状态变化一定是在某个业务流程的大背景下进行的。下图是一个疑点数据整个生命周期的状态变化图。图中,与行动图一样,一个实心圆点代表的是流程的开始,圆边的方框代表的是对象生命周期中的各个状态,状态节点间的实线箭头代表的是状态的切换,箭头的文字描述是触发状态切换的事件。与行动图一样,状态图可以有分支、分岔、汇合,并后以一个或多个带环的实心圆结束,代表对象生命周期的终结。

在需求分析中,状态图并不是必须的,它仅仅出现在你认为需要对某个对象的状态进行说明的时候。

sales@spasvo.com