Linux系统结构详解
作者:网络转载 发布时间:[ 2016/7/15 10:11:19 ] 推荐标签:Linux 操作系统
2.文件系统特性:
磁盘分区完毕后还需要进行格式化(format),之后操作系统才能够使用这个分区。 格式化的目的是能使操作系统可以使用的文件系统格式(即我们上面提到文件系统类型).
每种操作系统能够使用的文件系统并不相同. 如windows 98 以前的微软操作系统主要利用的文件系统是 FAT (或 FAT16),windows 2000 以后的版本有所谓的 NTFS 文件系统,至于 Linux 的正统文件系统则为 Ext2 (Linux second extended file system, ext2fs)这一个。此外,在默认的情况下,windows 操作系统是不会认识 Linux 的 Ext2 的。
传统的磁盘与文件系统之应用中,一个分区是只能够被格式化成为一个文件系统,所以我们可以说一个 filesystem 是一个 partition。但是由于新技术的利用,例如我们常听到的LVM与软件磁盘阵列(software raid), 这些技术可以将一个分区格式化为多个文件系统(例如LVM),也能够将多个分区合成一个文件系统(LVM, RAID)! 所以说,目前我们在格式化时已经不再说成针对 partition 来格式化了, 通常我们可以称呼一个可被挂载的数据为一个文件系统而不是一个分区喔!
那么文件系统是如何运行的呢?这与操作系统的文件数据有关。较新的操作系统的文件数据除了文件实际内容外, 通常含有非常多的属性,例如 Linux 操作系统的文件权限(rwx)与文件属性(拥有者、群组、时间参数等)。 文件系统通常会将这两部份的数据分别存放在不同的区块,权限与属性放置到 inode 中,至于实际数据则放置到 data block 区块中。 另外,还有一个超级区块 (superblock) 会记录整个文件系统的整体信息,包括 inode 与 block 的总量、使用量、剩余量等。
对于一个磁盘分区来说,在被指定为相应的文件系统后,整个分区被分为 1024,2048 和 4096 字节大小的块。根据块使用的不同,可分为:
超级块(Superblock): 这是整个文件系统的第一块空间。包括整个文件系统的基本信息,如块大小,inode/block的总量、使用量、剩余量,指向空间 inode 和数据块的指针等相关信息。
inode块(文件索引节点) : 文件系统索引,记录文件的属性。它是文件系统的基本单元,是文件系统连接任何子目录、任何文件的桥梁。每个子目录和文件只有的一个 inode 块。它包含了文件系统中文件的基本属性(文件的长度、创建及修改时间、权限、所属关系)、存放数据的位置等相关信息. 在 Linux 下可以通过 “ls -li” 命令查看文件的 inode 信息。硬连接和源文件具有相同的 inode 。
数据块(Block) :实际记录文件的内容,若文件太大时,会占用多个 block。为了提高目录访问效率,Linux 还提供了表达路径与 inode 对应关系的 dentry 结构。它描述了路径信息并连接到节点 inode,它包括各种目录信息,还指向了 inode 和超级块。
像一本书有封面、目录和正文一样。在文件系统中,超级块相当于封面,从封面可以得知这本书的基本信息; inode 块相当于目录,从目录可以得知各章节内容的位置;而数据块则相当于书的正文,记录着具体内容。
Linux正统的文件系统(如ext2、3等)将硬盘分区时会划分出超级块、inode Table区块和data block数据区域。一个文件由一个超级块、inode和数据区域块组成。Inode包含文件的属性(如读写属性、owner等,以及指向数据块的指针),数据区域块则是文件内容。当查看某个文件时,会先从inode table中查出文件属性及数据存放点,再从数据块中读取数据。

ext2文件系统示意图
我们将 inode 与 block 区块用图解来说明一下,如下图所示,文件系统先格式化出 inode 与 block 的区块,假设某一个文件的属性与权限数据是放置到 inode 4 号(下图较小方格内),而这个 inode 记录了文件数据的实际放置点为 2, 7, 13, 15 这四个 block 号码,此时我们的操作系统能够据此来排列磁盘的阅读顺序,可以一口气将四个 block 内容读出来! 那么数据的读取如同下图中的箭头所指定的模样了。

图 inode/block 数据存取示意图
这种数据存取的方法我们称为索引式文件系统(indexed allocation)。那有没有其他的惯用文件系统可以比较一下啊? 有的,那是我们惯用的闪盘(闪存),闪盘使用的文件系统一般为 FAT 格式。FAT 这种格式的文件系统并没有 inode 存在,所以 FAT 没有办法将这个文件的所有 block 在一开始读取出来。每个 block 号码都记录在前一个 block 当中, 其读取方式有点像下图所示:

图、FAT文件系统数据存取示意图
上图中我们假设文件的数据依序写入1->7->4->15号这四个 block 号码中, 但这个文件系统没有办法一口气知道四个 block 的号码,他得要一个一个的将 block 读出后,才会知道下一个 block 在何处。 如果同一个文件数据写入的 block 分散的太过厉害时,则我们的磁盘读取头将无法在磁盘转一圈读到所有的数据, 因此磁盘会多转好几圈才能完整的读取到这个文件的内容!
常常会听到所谓的“碎片整理”吧? 需要碎片整理的原因是文件写入的 block 太过于离散了,此时文件读取的效能将会变的很差所致。 这个时候可以透过碎片整理将同一个文件所属的 blocks 汇整在一起,这样数据的读取会比较容易啊! 想当然尔,FAT 的文件系统需要经常的碎片整理一下,那么 Ext2 是否需要磁盘重整呢?
由于 Ext2 是索引式文件系统,基本上不太需要常常进行碎片整理的。但是如果文件系统使用太久, 常常删除/编辑/新增文件时,那么还是可能会造成文件数据太过于离散的问题,此时或许会需要进行重整一下的。 不过,老实说,鸟哥倒是没有在 Linux 操作系统上面进行过 Ext2/Ext3 文件系统的碎片整理说!似乎不太需要啦!^_^
可以用ln命令对一个已经存在的文件再建立一个新的连接,而不复制文件的内容。连接有软连接和硬连接之分,软连接又叫符号连接。它们各自的特点是:
硬连接:原文件名和连接文件名都指向相同的物理地址。目录不能有硬连接;硬连接不能跨越文件系统(不能跨越不同的分区)文件在磁盘中只有一个拷贝,节省硬盘空间;
由于删除文件要在同一个索引节点属于的连接时才能成功,因此可以防止不必要的误删除。
符号连接:用ln -s命令建立文件的符号连接符号连接是linux特殊文件的一种,作为一个文件,它的数据是它所连接的文件的路径名。类似windows下的快捷方式。
可以删除原有的文件而保存连接文件,没有防止误删除功能。
这一段的的内容过于抽象,又是节点又是数组的,我已经尽量通俗再通俗了,又不好加例子作演示。大家如果还是云里雾里的话,我也没有什么办法了,只有先记住,日后在实际应用中慢慢体会、理解了。这也是我学习的一个方法吧。
3.6 文件系统在内核中的表示
内核数据结构
Linux内核的VFS子系统可以图示如下:

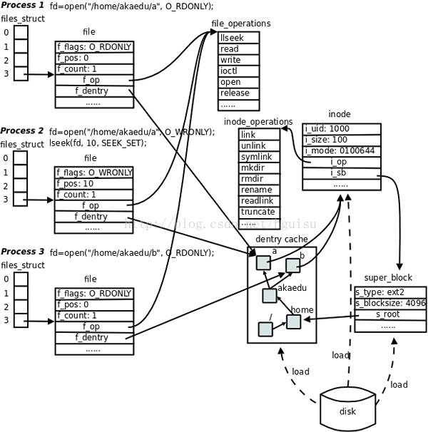
文件与IO: 每个进程在PCB(Process Control Block)中都保存着一份文件描述符表,文件描述符是这个表的索引,每个表项都有一个指向已打开文件的指针,现在我们明确一下:已打开的文件在内核中用file结构体表示,文件描述符表中的指针指向file结构体。
在file结构体中维护File Status Flag(file结构体的成员f_flags)和当前读写位置(file结构体的成员f_pos)。在上图中,进程1和进程2都打开同一文件,但是对应不同的file结构体,因此可以有不同的File Status Flag和读写位置。file结构体中比较重要的成员还有f_count,表示引用计数(Reference Count),后面我们会讲到,dup、fork等系统调用会导致多个文件描述符指向同一个file结构体,例如有fd1和fd2都引用同一个file结构体,那么它的引用计数是2,当close(fd1)时并不会释放file结构体,而只是把引用计数减到1,如果再close(fd2),引用计数会减到0同时释放file结构体,这才真的关闭了文件。
每个file结构体都指向一个file_operations结构体,这个结构体的成员都是函数指针,指向实现各种文件操作的内核函数。比如在用户程序中read一个文件描述符,read通过系统调用进入内核,然后找到这个文件描述符所指向的file结构体,找到file结构体所指向的file_operations结构体,调用它的read成员所指向的内核函数以完成用户请求。在用户程序中调用lseek、read、write、ioctl、open等函数,终都由内核调用file_operations的各成员所指向的内核函数完成用户请求。
file_operations结构体中的release成员用于完成用户程序的close请求,之所以叫release而不叫close是因为它不一定真的关闭文件,而是减少引用计数,只有引用计数减到0才关闭文件。对于同一个文件系统上打开的常规文件来说,read、write等文件操作的步骤和方法应该是一样的,调用的函数应该是相同的,所以图中的三个打开文件的file结构体指向同一个file_operations结构体。如果打开一个字符设备文件,那么它的read、write操作肯定和常规文件不一样,不是读写磁盘的数据块而是读写硬件设备,所以file结构体应该指向不同的file_operations结构体,其中的各种文件操作函数由该设备的驱动程序实现。

sales@spasvo.com