2022/10/14 16:50:21
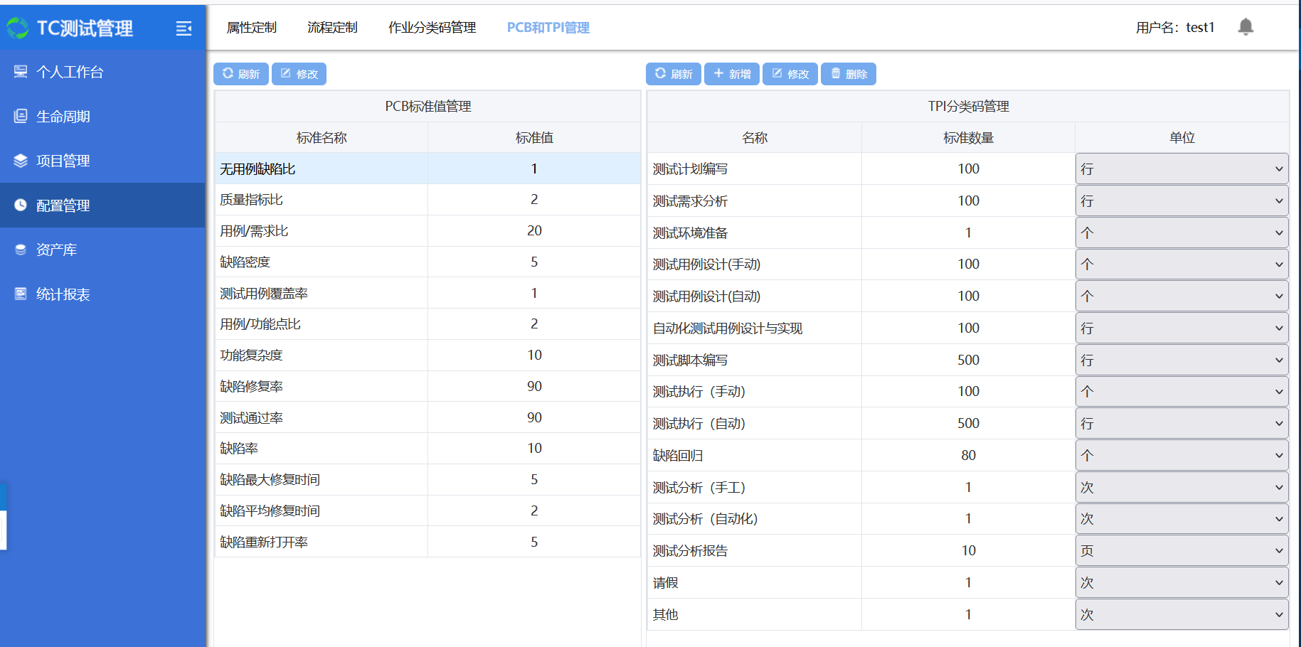
点击【PCB和TPI管理】进入到了PCB和TPI管理模块,PCB和TPI管理模块主要包含PCB标准值管理和TPI分类码管理。PCB标准值管理主要是修改值操作。TPI分类码管理主要是对分类码进行增加、删除和修改等操作。

PCB指标用于定义项目各阶段过程要达到的一个指标。
PCB指标不可以新增,但可以修改指标值,要有以下指标:
1.无用缺陷比例:没有关联用例的缺陷/总的缺陷
2.质量指标比:测试用例平均执行的次数
3.用例/需求比:平均每个需求拥有的用例数
4.缺陷密度:平均每个需求产生的缺陷数量
5.测试用例覆盖率:拥有测试用例的需求比例(拥有测试用例的需求数/需求总数)
6.用例/功能点比:平均每个功能点拥有的用例数
7.功能复杂度:平均每个需求拥有的功能点数量
TPI指标只要是定义项目人员的绩效指标。
用户可以自行新增TPI指标,但是不能删除默认的TPI指标,只能修改指标值。默认的TPI指标有:
1.测试计划编写
2.测试需求编写
3.测试环境准备
4.测试用例设计(自动)
5.测试用例设计(手动)
6.自动化测试用例设计与实现
7.测试脚本编写
8.测试执行(自动)
9.测试执行(手动)
10.缺陷回归
11.测试分析(手工)
12.测试分析(自动化)
13.测试分析报告
14.请假
15.其它
您的信息已成功提交!
我们的客服人员稍后会与您联系